電磁線圈參數影響電磁閥的性能,電阻、阻抗和匝數的特點參數
幾個電磁線圈參數影響電磁閥的性能。這些包括電阻、電感、電抗、阻抗和匝數。有時可能需要測量這些參數來預測閥門性能(驅動力、響應時間、功耗、滅弧器尺寸等)。電感、電抗、阻抗和匝數是線圈圖紙或數據表中通常未指定的參數。它們不是線圈設計的受控特性。但如果需要,可以測量或計算這些參數。
一、電阻和阻抗:
電阻和阻抗通常可以互換使用,但它們并不完全相同。電磁閥客戶有時可能會在他/她真正指的是電阻時要求阻抗。線圈電阻通常在圖紙或數據表中指定。
線圈的電阻(以歐姆為單位)只是在室溫(~20°C或25°C)下施加的直流電壓與直流電流的比率。由于銅的電阻溫度系數*,電阻會隨著線圈溫度的升高而增加。線圈的阻抗是交流線圈施加的交流電壓與交流電流的比率。
大多數直流和交流線圈的電阻可以用數字萬用表(DMM)直接測量。線圈中具有集成橋式整流器的交流線圈的電阻不能用數字萬用表直接測量。一些線圈制造商的交流線圈實際上是直流線圈,在線圈中嵌入了全波橋式整流器,要確定這種類型的交流線圈的電阻,可以連接直流電壓源(~12Vdc或24Vdc)和數字萬用表來測量電流,如下所示。

直流電壓源可以是直流電源或電池。可以使用以下公式計算近似的線圈電阻,以校正橋式整流器中的電壓降。
Rcoil=(Vdc-1.5V)/Adc
對于沒有集成橋式整流器的交流線圈,阻抗是電阻和電抗的組合。電阻是阻抗的直流部分,電抗是阻抗的交流部分(見下文)。

二、電抗、電感和匝數:
電抗是電磁閥致動器的電感、電容、頻率和磁性的函數。頻率通常為60或50赫茲。在螺線管線圈中,電容可以忽略不計,因此電抗完全是感抗(X L),而容抗(X C)為零。阻抗是電阻和感抗的矢量和(Z 2=R 2+X 2)。角度?是電流波形相對于電壓波形的相位滯后。
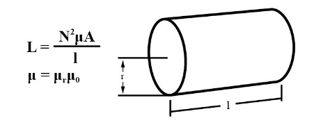
螺線管線圈的電感(L)是匝數(N)、長度(L)和橫截面積(A)的線圈尺寸以及閥門磁路的磁導率(μ)的函數。電感可以用LCR表測量。感抗在低頻時較小,在高頻時較大。



